|
★6.2.1 剖视图的形成
★6.2.1.1 概念
假想用一剖切平面剖开机件,然后将处在观察者 和剖切平面之间的部分移去,而将其余部分向投影面投 影所得的图形,称为剖视
图(简称剖视)。
★6.2.1.2 举例
例如,如图所示的机件,在主视图中,用虚线表达
其内部结构,不够清晰。可采用剖视图表达。 |
 |

★6.2.2 剖视图的画法
画剖视图时,首先要选择适当的剖切位置,使剖切平面尽量 通过较多的内部结构(孔、槽等)的轴线或对称平面,并平行于
选定的投影面。例如在图6—5中,以机件的前后对称平面为剖切 平面。
其次,内外轮廓要画齐。机件剖开后,处在剖切平面之后的所 有可见轮廓线都应画齐,不得遗漏。
最后要画上剖面符号。在剖视图中,凡是被剖切的部分应画上 剖面符号。表6—1列出了常见的材料由国家标准《机械制图》规
定的剖面符号。
|
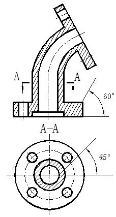
★6.2.2 剖视图的画法
金属材料的剖面符号,应画成与水平方向成 45°的互相平行、间隔均匀的细实线。同一机件各
个视图的剖面符号应相同。但是如果图形的主要轮
廓线与水平方向成45°或接近45°时,该图剖面线
应画成与水平方向成30°或60°角,其倾斜方向仍
应与其它视图的剖面线一致。 |
 |
★6.2.3 剖视图的标注
剖视图的一般应该包括三步分:剖切平面的位置、投影方向和 剖视图的名称。 标注方法:
在剖视图中用剖切符号(即粗短线)标明剖切平面的位置,并 写上字母;
用箭头指明投影方向;
在剖视图上方用相同的字母标出剖视图的名称“×—×”。
★6.2.4 画剖视图应注意的问题
1、 剖视只是一种表达机件内部结构的方法,并不是真正剖开和拿走
一部分。因此,除剖视图以外,其它视图要按原来形状画出。
2、 剖视图中一般不画虚线,但如果画少量虚线可以减少视图数量,
而又不影响剖视图的清晰时,也可以画出这种虚线。
3、 机件剖开后,凡是看得见的轮廓线都应画出,不能遗漏。要仔细
分析剖切平面后面的结构形状,分析有关视图的投影特点,以免画错。
对比下列各图,注意区别它们不同之点在什么地方。
