ce

6.5 其他表达方法

当前位置:机械制图第6章 机械图样的表示法 》6.5 其他表达方法

 

返回目录

 
q

★6.5 其他表达方法
★6.5.1 局部放大视图
★6.5.1.1 概念
    机件上某些细小结构在视图中表达的还不够清楚,或不便于标注尺 寸时,可将这些部分用大于原图形所采用的比例画出,这种图称为局部 放大图。
★6.5.1.2 标注
    局部放大图必须标注,标注方法是:在视图上画一细实线圆,标明 放大部位,在放大图的上方注明所用的比例,即图形大小与实物大小之 比(与原图上的比例无关),如果放大图不止一个时,还要用罗马数字 编号以示区别。

局部放大图举例

注意:局部放大图可画成视图、剖视图、断面图,它与被放大部位 的表达方法无关。局部放大图应尽量配置在被放大部位的附近。

★6.5.2 有关肋板、轮辐等结构的画法
 

1、机件上的肋板、轮辐及薄壁等 结构,如纵向剖切都不要画剖面符 号, 而且用粗实线将它们与其相邻结构 分开。

2、回转体上均匀分布的肋板、轮辐、孔等结构不处于剖切平面上时,可 将这些结构假想旋转到剖切平面上画出。

★6.5.3 相同结构的简化画法
    当机件上具有若干相同结构(齿、槽、孔等),并按一定规律分布 时,只需画出几个完整结构,其余用细实线相连或标明中心位置,并注 明总数。

★6.5.4 较长机件的折断画法
    较长的机件(轴、杆、型材等),沿长度方向的形状一致或按一定 规律变化时,可断开缩短绘制,但必须按原来实长标注尺寸。

★6.5.4 较长机件的折断画法
    机件断裂边缘常用波浪线画出,圆柱断裂边缘常用花瓣形画出。

★6.5.5 较小结构的简化画法
    机件上较小的结构,如在一个图形中已表示清楚时,在其它图形 中可以简化或省略。在不致引起误解时,图形中的相贯线允许简化, 例如用圆弧或直线代替非圆曲线。

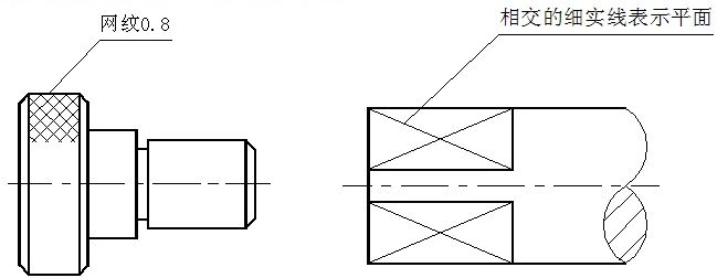
★6.5.6 某些结构的示意画法
    网状物、编织物或机件上的滚花部分,可在轮廓线附近用细实线示 意画出,并标明其具体要求。
    当图形不能充分表达平面时,可以用平面符号(相交细实线)表示, 如已表达清楚,则可不画平面符号。

★6.5.7 对称机件的简化画法
    在不致引起误解时,对于对称机件的视图可以只画一半或四分之一, 并在对称中心线的两端画出两条与其垂直的平行细实线。

★6.5.8允许省略剖面符号的移出断面
    在不致引起误解时, 零件图中的移出断面,允 许省略剖面符号,但剖 切位置和断面图的标注, 必须按规定的方法标出。

 

当前位置:机械制图第6章 机械图样的表示法6.5 其他表达方法

 

返回目录

 

联系我们:lgg6388@126.com