★6.1.1 基本视图
★6.1.1.1 概念
为了清晰地表达机件六个方向的形状,可在H、V、W三投影面的 基础上,再增加三个基本投影面。这六个基本投影面组成了一个方
箱,把 机件围在当中,如图6—1(a)所示。机件在每个基本投影
面上的投影,都称为基本视图。图6—1(b)表示机件投影到六个投
影面上后,投影面展开的方法。展开后,六个基本视图的配置关系
和视图名称见图6—1(c)。按图6—1(b)所示位置在一张图纸内
的基本视图,一律不注视图名称。
六个基本视图的投影和展开
六个基本视图的配置

★6.1.1.2 投影规律
六个基本视图之间,仍然保持着与三视图相同的投影规律,即:
主、俯、仰、(后):长对正;
主、左、右、后:高平齐;
俯、左、仰、右:宽相等。
此外,除后视图以外,各视图的里边(靠近主视图的一边),均表示机件的后面,各视图的外边(远离主视图的一边),均表示机件的前面,即“里后外前”。
★6.1.2 向视图
有时为了便于合理地布置基本视图,可以采用向视图。向视图 是可自由配置的视图,它的标注方法为:在向视图的上方注写“×”
(×为大写的英文字母,如“A”、“B”、“C”等),并在相应视图的
附近用箭头指明投影方向,并注写相同的字母。
向视图的画法

★6.1.3 局部视图
★6.1.3.1 概念
只将机件的某一部分向基本投影面投射所得到的图形,称为 局部视图。
局部视图是不完整的基本视图,利用局部视图可以减少基本 视图的数量,使表达简洁,重点突出。例如图6—3 (a)所示工
件,画出了主视图和俯视图,已将工件基本部分的形状表达清楚,
只有左、右两侧凸台和左侧肋板的厚度尚未表达清楚,此时便可
象图中的A向和B向那样,只画出所需要表达的部分而成为局部视
图,如图6—3(b)所示。这样重点突出、简单明了,有利于画图 和看图。
(1)在相应的视图上用带字母的箭头指明所表示的投影部位和投影方向,并在局部视图上方用相同的字母标明“×”。
(2)局部视图最好画在有关视图的附近,并直接保持投影联系。也可以画在图纸内的其它地方,如图6—3(b)中右下角画出的“B”。当表示投影方向的箭头标在不同的视图上时,同一部位的局部视图的图形方向可能不同。
(3)局部视图的范围用波浪线表示,如图6—3(b)中“A”。所表示的图形结构完整、且外轮廓线又封闭时,则波浪线可省略,如图6—3(b)中“B”。
★6.1.4 斜视图
★6.1.4.1 概念
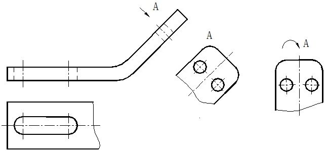
将机件向不平行于任何基本投影面的投影面进行投影,所得到 的视图称为斜视图。 斜视图适合于表达机件上的斜表面的实形。
例如图6—4所示是一个弯板形机件,它的倾斜部分在俯视图和左
视图上的投影都不是实形。此时就可以另外加一个平行于该倾斜部的
投影面,在该投影面上则可以画出倾斜部分的实形投影,如图6—4中
的“A”向所示。
斜视图的画法

★6.1.4.2 斜视图标注
斜视图的标注方法与局部视图相似,并且应尽可能配置在与基本 视图直接保持投影联系的位置,也可以平移到图纸内的适当地方。为
了画图方便,也可以旋转,但必须在斜视图上方注明旋转标记。
★6.1.4.3画斜视图时应注意
画斜视图时增设的投影面只垂直于一个基本投影面,因此,机件上 •原来平行于基本投影面的一些结构,在斜视图中最好以波浪线为界而
•省略不画,以避免出现失真的投影。在基本视图中也要注意处理好这
•类问题,如图6—4中不用俯视图而用“A”向视图,即是一例。
★总结:
视图主要用来表达机件的外部形状,之所以产生多种视图,一方面是由于要适应机件结构形状的多样性,尽量避免在视图中出现失真的投影,例如斜视图即属这种情况;另一方面是为了让视图尽可能只表达机件可见部分的轮廓,避免使用虚线,减少重叠的层次,增加图形的清晰形,局部视图、右视图、仰视图等都有这样的作用。