|
★6.3.1. 4 局部剖视图的标注
局部剖视图的标注方法和全剖视相同。但如局部剖视图的剖切位置
非常明显,则可以不标注。
|
 |
|
★6.3.1. 2. 4 画半剖视图注意几点:
(1)具有对称平面的机件,在垂 直于对称平面的投影面上,才宜采用半 剖视。如机件的形状接近于对称,而不
对称部分已另有视图表达时,也可以采 用半剖视。
(2)半个剖视和半个视图必须以 细点画线为界。如果作为分界线的细点 画线刚好和轮廓线重合,则应避免使用。 |
 |
★6.3.2 剖切面的种类
剖视图是假想将机件剖开而得到的视图,因为机件内部形状的多样 l性,剖开机件的方法也不尽相同。国家标准《机械制图》规定有:单一
l剖切平面、几个互相平行的剖切平面、两个相交的剖切平面、不平行于 l任何基本投影面的剖切平面、组合的剖切平面等。
★6.3.2.1 单一剖切平面
用一个剖切平面剖开机件的方法称为单一剖,所画出的剖视图, 称为单一剖视图。单一剖切平面一般为平行于基本投影面的剖切平面。
前面介绍的全剖视图、半剖视图、局部剖视图均为用单一剖切平面剖 切而得到的,可见,这种方法应用最多。
★6.3.2.2几个互相平行的剖切平面
★6.3.2.2.1 概念
用两个或多个互相平行的剖切平面把机件剖开的方法,称为阶 梯剖,所画出的剖视图,称为阶梯剖视图。它适宜于表达机件内部
结构的中心线排列在两个或多个互相平行的平面内的情况。
★6.3.2.2.2 举例
如图所示机件,内部结构(小孔和沉孔)的中心位于两个平行 的平面内,不能用单一剖切平面剖开,而是采用两个互相平行的剖
切平面将其剖开,主视图即为采用阶梯剖方法得到的全剖视图。

★6.3.2.2.3
画阶梯剖视时,应注意下列几点:
|
(1)为了表达孔、槽等内部结构的实形,几个剖切平面应同时平行于 同一个基本投影面。
(2)两个剖切平面的转折处,不能划分界线。当 它们在剖视图上有共同的对称中心线和轴线时,也
可以各画一半,这时细点画线就是分界线。
(3)阶梯剖视必须标注。在剖切平面迹线的起始、 转折和终止的地方,用剖切符号(即粗短线)表示
它的位置,并写上相同的字母;在剖切符号两端用 箭头表示投影方向(如果剖视图按投影关系配置,中间又无其它图形隔开
时,可省略箭头);在剖视图上方用相同的字母标出名称“X—X”。 |
 |
★6.3.2.3 两个相交的剖切平面
★6.3.2.3.1 概念
用两个相交的剖切平面(交线垂直于某一基本投影面)剖开机 件的方法称为旋转剖,所画出的剖视图,称为旋转剖视图。
|
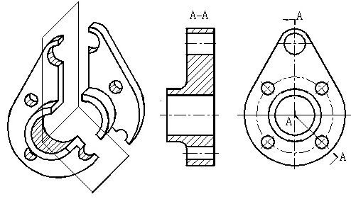
★6.3.2.3.2 举例
如图所示的法兰盘, 它中间的大圆孔和均匀分 布在四周的小圆孔都需要 剖开表示,如果用相交于
法兰盘轴线的侧平面和正 垂面去剖切,并将位于正 垂面上的剖切面绕轴线旋
转到和侧面平行的位置,这样画出的剖视图就是旋转剖视图。
|
 |
★6.3.2.3.2 举例
如图6—18所示的摇臂,也可以用旋转剖视表达。

★6.3.2.3.3
画旋转剖视时,应注意下列几点:
(1)倾斜的平面必须旋转到与选定的基本投影面平行,以使投影能够表 达实形。但剖切平面后面的结构,一般应按原来的位置画出它的投影。
(2)旋转剖视图必须标注,标注方法与阶梯剖视相同。
★6.3.2.4 不平行于任何基本投影面的剖切平面
★6.3.2.4.1 概念
用不平行于任何基本投影面的剖切平面剖开机件的方法称为斜 剖,所画出的剖视图,称为斜剖视图。
斜剖视适用于机件的倾斜部分需要剖开以表达内部实形的时候, 并且内部实形的投影是用辅助投影面法求得的。
|
★6.3.2.4.2 举例
如图所示机件,它的基本轴线不 与底板不垂直。为了清晰表达弯板的外 形和小孔等结构,宜用斜剖视表达。此
时用平行于弯板的剖切面“B—B”剖开机 件,然后在辅助投影面上法求出剖切部 分的投影即可。 |
 |
★6.3.2.5 组合的剖切平面
★6.3.2.5.1 概念
当机件的内部结构比较复杂,用阶梯剖或旋转剖仍不能完全表 达清楚时,可以采用以上几种剖切平面的组合来剖开机件,这种剖切
方法,称为复合剖,所画出的剖视图,称为复合剖视图。
★6.3.2.5.2 举例
如图所示的机件,为了在一个图上表达各孔、槽的结构,便采用了 复合剖视。应特别注意复合剖视图中的标注方法。
